Determining the velocity of light by means of the rotating-mirror method according to Foucault and Michelson - Measuring the image shift as a function of the rotational speed of the mirror

VP5.6.1.1
Determining the velocity of light by means of the rotating-mirror method according to Foucault and Michelson - Measuring the image shift as a function of the rotational speed of the mirror
Determining the velocity of light by means of the rotating-mirror method according to Foucault and Michelson - Measuring the image shift as a function of the rotational speed of the mirror
Determining the velocity of light by means of the rotating-mirror method according to Foucault and Michelson - Measuring the image shift as a function of the rotational speed of the mirror

This product is classified as a dangerous good and is not available for online purchase.

For ordering the dangerous good or other information please contact our customer service center.
This experiment/set up contains dangerous goods.
These are not available for online purchase.
You may order the experiment/set up without the dangerous goods.


For ordering the dangerous good or other information please contact our customer service center.
Email: webshopuk@ld-didactic.de
Telephone:+49 (0) 22 33 / 604 – 319
Go to contact form

˟

Request an offer

Thank you for your inquiry. We will get back to you as soon as possible.

˟

Description

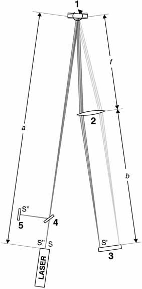
Once the rotary mirror is turning at a high frequency ν, the shift Δx of the image on the scale is observed. In the period

which the light requires to travel to the rotary mirror and back to the end mirror, the rotary mirror turns by the angle

Thus, the image shift is

The velocity of light can then be calculated as

To determine the velocity of light in experiment P5.6.1.1, the image shift is measured as a function of the speed of the mirror.

Components of equipment sets

1 476401 Rotary mirror, regulated speed LD
1 471832 He-Ne laser, unpolarised LD
1 46320 Front-silvered mirror LD
1 46012 Lens in frame, f=5 m LD
1 47188  8  Beam splitter LD
1 46022  4  Holder with spring clips LD
1 311091  4  Glass scale 50 mm LD
1 52140  8  Variable transformer, 0...250 V LD
1 575302 Oscilloscope 30 MHz, digital, PT1265 LD
1 559921  8  Semiconductor detector LD
1 50102  8  BNC cable, 1 m LD
1 50110  4  BNC adapter, straight LD
1 30041  4  Stand rod, 25 cm, 12 mm Ø LD
1 30042  4  Stand rod, 47 cm, 12 mm diam. LD
1 30044  4  Stand rod, 100 cm, 12 mm diam. LD
1 30001  4  Stand base, V-shaped, large LD
4 30002  4  Stand base, V-shaped, small LD
1 30011  4  Saddle base LD
2 30101  4  Leybold multiclamp LD
1 30109  4  Bosshead S LD
1 31102  4  Metal rule, 1 m LD
Print page

Contact Us

Technical Service & Support:

Online Service Portal
Do you have any questions or suggestions regarding our devices, products, experiments, equipment sets or about our software? You need spare parts? FORM

Repair Service
You would like to register a repair? FORM

Europe
For European distributors, please visit: European distributors
Worldwide requests
Please contact us per email: sales@ld-didactic.de

 Click here for our contact form.

Contact Us